32载专注密封圈研发生产厂家 CCTV.央视访谈企业一航天级研发基地
18925433252 18925433252
聚焦东晟 · 资讯分享

旋转轴密封方法迷宫密封

返回列表 来源: 东晟密封 发布日期: 2020.06.10

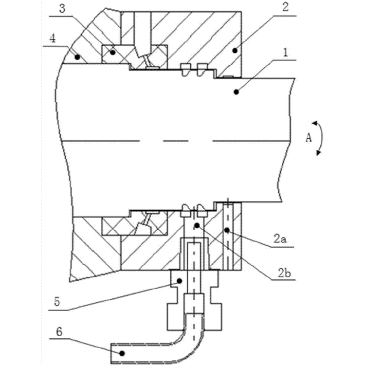
本发明涉及到机械设备技术领域,特别是在涉及到一种旋转轴密封结构。数控车床的办公环境中填满含有切削渣的焊接烟尘,假如这类焊接烟尘进到到车床主轴的內部,则会比较严重危害主轴轴承使用寿命及旋转精密度。现阶段,数控车床上广泛用的主轴轴承密封结构为气密封或内孔迷宫密封气密封的结构简易,但密封实际效果不理想化;而内孔迷宫密封的密封实际效果较高,但结构过度繁杂,不有利于生产加工。因而,怎样有利于生产加工,提升密封可信性,已变成本行业技术人员急需解决的瓶颈问题。

本发明的目地是出示一种旋转轴密封结构,便于于生产加工,提升密封可信性。以便完成所述目地,本发明出示以下技术方法:

一种旋转轴密封结构,包含旋转轴、轴承端盖及壳体,上述旋转轴上设定有两个轴肩,各自为由性格外向内排序的第1轴肩及第2轴肩,2个上述轴肩中间设定有好几个甩油槽;上述轴承端盖上具备与好几个上述甩油槽相匹配设定的好几个轴肩内泄油槽及与好几个轴肩内泄油槽连接的第1泄进油口。

旋转轴密封方法迷宫密封



咨询热线

18925433252