广东东晟密封科技有限公司

32载专注密封圈研发生产厂家 CCTV.央视访谈企业一航天级研发基地
18925433252 18925433252
聚焦东晟 · 资讯分享
轴用 YX形密封圈
返回列表 来源: 东晟密封 发布日期: 2021.06.19

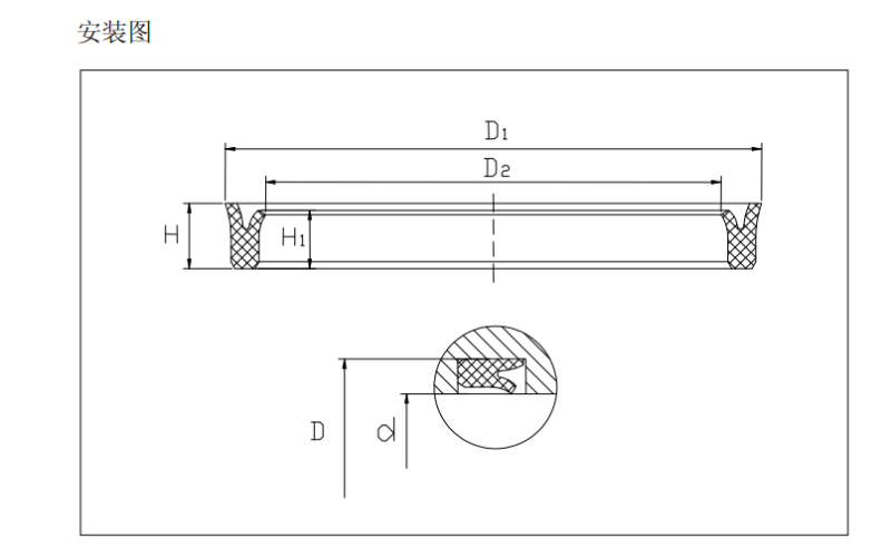
轴用 YX形密封圈适用于以空气、矿物油为介质的各种机械设备中,在温度-20~+80℃、 工作压力≤31.5MPa 条件下起密封作用的轴用 YX 形气密封圈。轴用 YX形密封圈是依靠其张开的唇部紧贴于密封轴表面而保持密封的,通常也可单独使用,其密封性能较好,摩擦阻力较小,耐压性能好,工作稳定性好,使用寿命长。

轴用 YX形密封圈安装图


咨询热线

18925433252